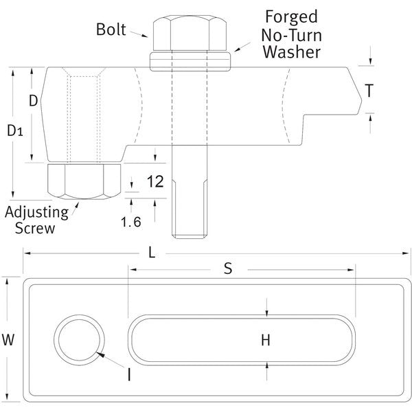
Forged Closed Toe Mould Clamp (Clamp Only)
- Rust and corrosion resistant, black oxide or zinc finish
- Stronger and longer lasting than machined clamps
- Forged, hi tensile hardened steel
- Forged to our design and specification
- Closed toe - Stays on the mould platen during mould change
- Available as complete set with washer, adjusting screw and bolt
